- 先理解两个基础概念:MIMO 和 OFDM
- 为什么需要将两者结合?—— MIMO-OFDM 的诞生
- MIMO-OFDM 是如何工作的?—— 核心工作原理
- MIMO-OFDM 的主要优势
- 主要应用场景
- 面临的挑战与未来发展方向
先理解两个基础概念:MIMO 和 OFDM
为了理解 MIMO-OFDM,我们首先要分别搞懂 MIMO 和 OFDM 是什么。

A. MIMO (Multiple-Input Multiple-Output) - 多入多出
您可以简单地把 MIMO 理解为 “用多根天线收发数据” 的技术。
- 传统单天线 (SISO):一部手机只有一根天线,基站也只有一根天线,数据就像一条单车道,一次只能传输一个数据流。
- MIMO:手机和基站都配备了多根天线(比如手机2根,基站8根)。
- 多入:基站用多根天线 同时 向手机发送不同的数据流。
- 多出:手机用多根天线 同时 接收这些数据流。
MIMO 的核心思想是:利用多根天线在空间上创造多条独立的“数据通道”(Spatial Streams),从而在不增加带宽和总发射功率的情况下,成倍地提升数据传输速率。
打个比方:
- SISO:就像一条单车道,一次只能过一辆车,速度有限。
- MIMO:就像在同一个地方修建了并行的多条车道(比如4车道、8车道),可以同时过很多辆车,总交通量(数据速率)大大增加。
B. OFDM (Orthogonal Frequency Division Multiplexing) - 正交频分复用
您可以简单地把 OFDM 理解为 “将一条高速数据流,分割成成百上千条低速数据流,同时在多个低速率的子载波上并行传输” 的技术。

- 传统单载波:所有数据都挤在一个频率上传输,就像一辆车在一条很窄的山路上开,遇到拐弯或障碍(多径效应)很容易翻车(码间串扰)。
- OFDM:它把整个可用的频谱划分成大量相互正交(互不干扰)的子载波,每个子载波的速率都很低。
- 并行传输:将高速数据流分配到这些低速子载波上同时传输。
- 抗多径:因为每个子载波速率慢,符号周期就长,多径效应(信号反射)造成的延迟只占符号周期的一小部分,可以通过一个叫做 循环前缀 的技术来消除,从而有效对抗码间串扰。
打个比方:
- 单载波:一辆装满货物的卡车在崎岖的山路上行驶,货物容易颠簸损坏(码间串扰)。
- OFDM:把一整卡车货物,卸成成百上千个小包裹,然后组织一支庞大的车队(子载波),在宽阔平坦的高速公路上并行行驶,即使个别车遇到小颠簸(多径),也只是影响一个小包裹,整体货物安全送达的概率大大增加。
为什么需要将两者结合?—— MIMO-OFDM 的诞生
单独使用 MIMO 或 OFDM 都有其局限性:
- MIMO 的问题:在多径环境(城市、室内等)中,从不同天线发出的信号会经过复杂的反射、折射,到达接收端时可能会相互干扰,变得难以分离,这使得 MIMO 的性能高度依赖于信道环境。
- OFDM 的问题:OFDM 系统对频率偏移和相位噪声非常敏感,为了实现多流传输,OFDM 需要 MIMO 检测算法 来区分从不同天线发出的数据,这在高速移动和多径环境下计算量巨大且性能不佳。
MIMO-OFDM 的结合,可以说是“强强联手,优势互补”:
- OFDM 为 MIMO 提供了“舞台”:OFDM 将频率选择性信道(多径造成的频率选择性衰落)转化为多个并行的平坦衰落子信道,这使得 MIMO 在每个子信道上都可以简化处理,大大降低了 MIMO 信号检测和解码的复杂度。
- MIMO 为 OFDM 提供了“加速器”:MIMO 在 OFDM 的并行子信道上,可以同时传输多个数据流,从而将 OFDM 本身的高频谱效率提升到了一个新的高度。
OFDM 解决了“如何在多径环境下稳定传输”的问题,而 MIMO 解决了“如何成倍提升传输速率”的问题,两者结合,就实现了“在复杂环境下高速、可靠地传输数据”。

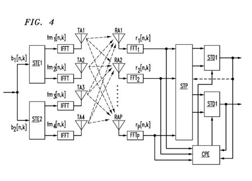
MIMO-OFDM 是如何工作的?—— 核心工作原理
一个典型的 MIMO-OFDM 系统工作流程如下(以 2x2 MIMO 为例):
-
发射端:
- 信道编码:原始数据经过纠错编码(如 Turbo码、LDPC码)。
- 星座映射:将编码后的比特流映射成复杂的星座符号(如 QPSK, 16-QAM, 64-QAM)。
- 层映射与预编码:这是 MIMO 的关键步骤,将数据流分配到不同的空间层(2个数据流),根据信道状态信息,通过预编码矩阵(如ZF, MMSE算法)对每个符号进行加权处理,以最大化接收端的信号质量或最小化干扰。
- OFDM 调制:
- 将预编码后的符号串并转换。
- 进行 IFFT(快速傅里叶逆变换),将频域信号转换到时域。
- 加入循环前缀,以消除多径带来的码间串扰。
- 进行并串转换,形成最终的时域信号。
- 射频发射:将生成的数字信号通过多根天线(天线1和天线2)并发出去。
-
无线信道:
- 两路信号在空间中传播,经历路径损耗、阴影衰落、多径效应等,并可能受到其他信号的干扰。
-
接收端:
- 射频接收:用多根天线(天线1和天线2)同时接收信号。
- OFDM 解调:
- 移除循环前缀。
- 进行 FFT(快速傅里叶变换),将时域信号转换回频域。
- 进行信道估计,以了解每根发射天线到每根接收天线之间的信道特性。
- MIMO 检测与解码:
- MIMO 检测:利用信道估计结果,通过检测算法(如ZF, MMSE, ML等)从混合的接收信号中分离出原始的多个数据流。
- 信道解码:将分离出的符号进行解映射,然后通过信道解码器纠正传输中可能产生的错误,恢复出原始数据。
MIMO-OFDM 的主要优势
- 极高的频谱效率:结合 MIMO 的空间复用和 OFDM 的子载波并行,可以在有限的频谱资源上实现极高的数据速率。
- 强大的抗多径衰落能力:OFDM 的循环前缀机制和 MIMO 的空间分集(如 Alamouti编码)使其天然适合高速移动和复杂的城市环境。
- 灵活的可扩展性:可以通过增加天线数量来提升 MIMO 的流数(如从 2x2 到 4x4, 8x8),或通过增加子载波数量来提升 OFDM 的带宽,系统设计非常灵活。
- 易于与多天线技术结合:可以方便地实现波束赋形等高级天线技术,进一步优化覆盖和容量。
主要应用场景
MIMO-OFDM 是现代无线通信的基石,几乎所有主流标准都采用了它:
- Wi-Fi (802.11n, 802.11ac, 802.11ax/Wi-Fi 6, 802.11be/Wi-Fi 7):从 Wi-Fi 4 (802.11n) 开始,MIMO-OFDM 就成为标配,并不断演进到更高阶的 MIMO(如 4x4, 8x8)和更宽的信道带宽(如 160MHz)。
- 4G LTE / LTE-Advanced:下行链路广泛采用 DL-MIMO(如 2x2, 4x4),上行链路采用 UL-MIMO,载波聚合技术也常与 MIMO-OFDM 结合使用。
- 5G NR (New Radio)
