下面我将从原因分析、诊断步骤和维修方法三个方面,为您提供一个详细、系统的排查和解决方案。

问题现象与核心原因
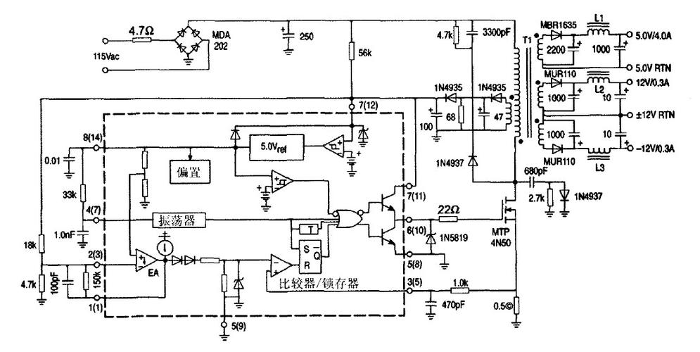
现象: 给电源上电后,测量 UC3845 的 VCC (引脚 8) 电压,发现它远低于数据手册中规定的 16V 启动阈值,或者在 10V 左右徘徊,无法使芯片进入正常工作状态。
核心原因: UC3845 的工作分为两个阶段:
- 启动阶段: 靠外部的高压通过一个启动电阻给 VCC 电容充电,当 VCC 电压超过 16V 时,芯片内部电路被激活,开始输出 PWM 驱动脉冲。
- 工作阶段: 芯片一旦启动,会驱动变压器上的辅助绕组,为 VCC 提供持续的低压供电(通常在 12-15V),取代启动电阻,为芯片供电。
“启动电压低” 的根本问题在于:启动阶段的充电速度太慢,或者充电电压无法达到 16V,导致芯片“起不来”。
核心元器件与故障点分析
围绕启动回路,我们可以列出几个关键元器件,它们是故障的高发区:

| 元器件 | 作用 | 故障表现 | 如何检测 |
|---|---|---|---|
| 启动电阻 (Rstart) | 提供初始充电电流 | 阻值变大或开路,这是最常见的原因,电阻因老化、过压或过流而值变大,导致充电电流减小,VCC 电压上升缓慢,无法达到 16V。 | 断电测量:用万用表电阻档测量其阻值,与标称值对比,如果阻值远大于标称值或无穷大,则已损坏。 在路测量:如果断电测量不准,可以在路测量,但需注意并联电路的影响。 |
| VCC 滤波电容 (Cvcc) | 储存能量,稳定 VCC 电压 | 失效或容量下降,电容失效后,无法储存足够的电荷来维持 VCC 电压达到 16V,电解电容干涸、ESR 增大是常见问题。 | 外观检查:看电容是否鼓包、漏液。 万用表电容档测量:测量其容量,是否与标称值严重不符。 替换法:找一个好电容替换,观察是否解决问题。 |
| VCC 稳压二极管 (ZD1) | 保护 VCC 电压,防止过压 | 漏电,如果稳压管轻微漏电,它会持续将 VCC 电压“拉低”,导致电压无法达到 16V。 | 断电测量:用万用表二极管档或电阻档测量其正反向电阻,正常情况下,反向电阻应非常大(兆欧级),如果有一定阻值,说明已漏电。 替换法:直接更换一个好的同型号稳压管。 |
| 辅助绕组及整流滤波电路 | 为芯片提供工作阶段的供电 | 开路或短路,如果辅助绕组本身、其整流二极管或滤波电容有问题,会导致 VCC 在启动后无法得到持续供电,电压会迅速掉落,但这通常表现为启动后电压又掉下去,而不是“起不来”,如果辅助绕组对地短路,也会拉低启动电压。 | 目视检查:检查二极管是否炸裂。 在路测量:测量辅助绕组两端的对地电阻,是否有明显短路。 |
| UC3845 芯片本身 | PWM 控制核心 | 内部损坏,芯片内部 VCC 比较器或逻辑电路损坏,导致其无法识别或响应达到 16V 的电压。 | 替换法:这是最可靠的检测方法,在排除了外围所有元器件后,如果问题依旧,直接更换一块好的 UC3845 芯片。 |
系统性维修步骤与流程
建议按照以下步骤进行,由简到繁,效率最高。
第一步:安全准备
- 断电:确保电源已完全断电,并拔下插头。
- 放电:用大功率电阻(如 5W/1kΩ)对输入端的大容量滤波电容进行放电,防止残留高压电击。
- 隔离:使用隔离变压器进行维修,确保人身安全。
第二步:目视检查
仔细检查电路板,寻找:
- 启动电阻是否烧焦、变色。
- VCC 电容是否鼓包、漏液。
- 稳压二极管是否炸裂。
- UC3845 芯片是否有烧灼痕迹。
第三步:测量关键点电压(上电测试)
⚠️ 警告:此操作需非常小心,高压侧有危险!建议使用隔离变压器。
- 设置万用表:将万用表调至直流电压档,量程选择 20V 或 50V。
- 测量 VCC 电压:打开电源,用表笔测量 UC3845 的第 8 脚(VCC)和第 5 脚(GND)之间的电压。
- 如果电压为 0V:说明启动回路完全无电流,重点检查启动电阻是否开路。
- 如果电压在 1-15V 之间且不上升:这正是“启动电压低”的典型现象,继续下一步。
- 如果电压瞬间冲到 16V 以上,然后迅速掉到 0V 或很低:说明芯片启动了,但辅助供电回路有问题,重点检查辅助绕组、整流二极管和滤波电容。
第四步:关键元器件的检测(断电后)
根据上一步的测量结果,针对性检测:

-
检测启动电阻 (Rstart):
- 断开启动电阻的一脚(或完全焊下),用万用表精确测量其阻值。
- 对比标称值(如 100kΩ),如果误差超过 20%或无穷大,则必须更换。
-
检测 VCC 电容 (Cvcc):
- 焊下电容,用万用表电容档测量其容量,如果容量远小于标称值(如标 47µF,实测小于 10µF),则需更换。
- 如果没有电容档,可以找一个同规格的好电容替换试一下。
-
检测 VCC 稳压管 (ZD1):
焊下稳压管,用万用表二极管档测量,正向应有 0.5-0.7V 的压降,反向应显示“OL”或无穷大,如果反向有阻值,说明漏电,更换。
第五步:替换法(最终手段)
如果以上步骤都检查过,元器件都正常,那么问题很可能出在芯片本身。
- 更换 UC3845:小心地将原芯片焊下,换上一块确认是好的芯片,注意芯片的方向,不要装反。
常见故障总结与速查表
| 故障现象 | 最可能的原因 | 检测方法 | 解决方案 |
|---|---|---|---|
| VCC 电压为 0V | 启动电阻开路 | 万用表电阻档测量启动电阻阻值。 | 更换启动电阻。 |
| VCC 电压在 10V 左右徘徊,无法达到 16V | 启动电阻阻值变大 VCC 电容失效 VCC 稳压管漏电 |
测量启动电阻阻值 测量/更换 VCC 电容 测量稳压管反向电阻 |
更换启动电阻 更换 VCC 电容 更换稳压管 |
| VCC 电压瞬间达到 16V,然后迅速掉落 | 辅助绕组供电回路故障 | 检查辅助绕组整流二极管、滤波电容。 | 更换损坏的二极管或电容。 |
| 外围元件均正常,VCC 电压仍低 | UC3845 芯片内部损坏 | 替换法,更换一块好的 UC3845。 | 更换 UC3845 芯片。 |
维修小贴士
- 先看后测:目视检查往往能发现最
